吸取從事藥品真空干燥箱開發中的許多教訓,在著手無料盤的真空干燥箱開發前制訂了幾條要達到的主要目標:
(1)必須比傳統干燥箱操作更方便快捷,實現機械化裝卸料,排除手工操作可能增加污染藥品的機會;
(2)干燥速度和效率大大超過前開發的新型干燥箱;
(3)仍保持罩筒式藥品真空干燥箱一樣的清洗方便性和徹底性。
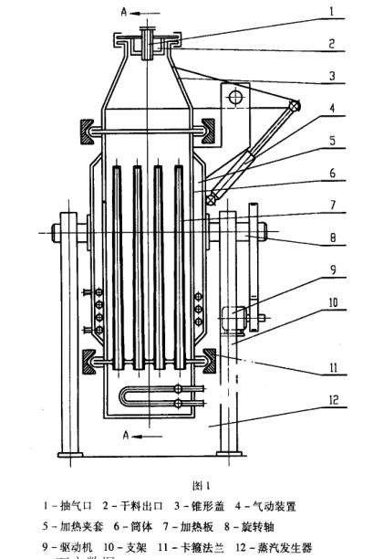
開發就圍繞上述提出的明確目標進行,經過多方案比較和論證后,從中選擇一種最佳的方案。該器面板上,帶加熱夾略呈倒錐形的可拆卸式筒體,兩端為卡箍式法蘭結構,上部法蘭與帶干料出口及真空抽氣口的錐形蓋連接,下部法蘭則與蒸汽車發生器連接,錐形蓋由氣動裝置操縱開閉。在加熱夾套外壁近設備重心中部設固定旋轉軸,該旋轉軸支承在支架上。在驅動機驅動下使旋轉軸帶動簡體可作1800翻轉。在錐形蓋垂直向上時,松去卡箍法蘭后開動氣動裝置打開錐形蓋,濕物料就可一次性加入簡體內,料面處于加熱板頂端附近,關閉錐形蓋并鎖緊卡箍法蘭,然后就可將干燥箱轉入抽真空和加熱干燥操作。完成干燥后,將專用出料桶用卡箍法蘭緊固在錐形蓋的干料出口上,然后將簡體翻轉到錐形蓋垂直向下,干燥物料卸人專用卸料桶內。
如圖1,2所示,錐形加熱板的各加熱面之間,以及加熱板與簡體加熱面之間均略呈錐形角,其目的是為迅速干凈卸清干物料創造條件。由圖知物料充滿簡體內,物料與加熱面直接接觸,之問沒有方案設備的干燥對象為各種無粘性松散狀物料,由于取消了料盤,消除了料盤制約干燥箱的許多負面影響,如干燥箱不適應較大規模應用。當然我們也充分考慮許多帶粘稠性藥品干燥需要,我們同時著手開發適合這類藥品的干燥設備,使藥品干燥設備選型時有更多更合適的干燥機可供選擇。關于中藥浸膏類干燥機開發擬在另文介紹。
一、結構介紹
無料盤藥品真空干燥箱是由許多塊略呈錐形立式加熱板焊接在低溫(25~1 1 8℃)飽和蒸汽發生

料盤與空隙,加熱條件之優是任何料盤干燥箱無法比擬的。由于包括加熱板與簡體夾套加熱面的全部加熱面積均參與接觸物料和加熱物料的作用,沒有一部分加熱面積或加熱面積金屬材料被浪費。相反料盤式干燥箱的加熱盤管或加熱平板,最少有一半不起作用或外用十分微小。本干燥箱除了錐形蓋外,所有簡體與加熱板均是直接為加熱干燥服務的,再由于取消了料盤式干燥箱中料盤與料盤之間的間隔空間,使干燥箱箱體大幅度減小,不再需要龐大箱體和箱門,故極大地節省了鋼材量,并使箱體達到高度緊湊。
由圖知本干燥箱中夾套及加熱板全部采用低溫飽和蒸汽作熱源,與傳統采用熱水加熱的真空干燥箱比較,不僅給熱系數高且無進出口溫度差,所有加熱面上的溫度均勻一致,自然會大大提高干燥效率。

本干燥箱可采用電加熱或0.1~0.2MPa飽和蒸汽為一次熱源,二次低溫飽和蒸汽溫度在25~1 18。之間可任意設定予以嚴格控制,故十分適用于熱敏溫度≤70。(2各種藥品干燥。本干燥箱真空度可達到一般機械或真空泵最高真空度。為了回收有機溶劑需要,可在真空管路中設溶劑冷凝器。本藥品真空干燥箱因很緊湊而散熱面積很小,再在體外設良好的絕熱措施,故散熱少,熱效率≥90%以七。
本真空干燥箱結構中可折卸式簡體是專為方便清洗和徹底清洗而設置的??ü渴椒ㄌm可以十分省力便捷折卸簡體,卸去筒體后全部加熱板可方便地在目視條件下予以清洗干凈,故本燥箱無論從生產操作或拆洗各個方面,在結構設計上都認真地貫徹GMP要求。由于本藥品真空干燥箱實現無盤料干燥,故其規格不能再以其它料盤干燥箱以料盤數來表示,為此采用簡體內裝料容積(In3)數表示規格大小,并以相當的料盤(460×640 X45)數以資說明。
二、規格(共6種)
0.25m3(20盤)0.5m3(40盤)0.75m3(60盤)1.Om3(80盤)1.25m3(100盤)1.5m3(120盤)。http://www.cjzyw.com