隨著社會的快速發展,人們對物質生活的要求越來越高,對原擁有的水龍頭已有了更高的要求。而現有的冷熱水雙進水龍頭,其調節水溫是靠閥門機械的位置地確定冷熱水量,其調節較復雜,且浪費的水量多。即使調好的水溫也會受到水壓的變化或其它相鄰的水龍頭啟閉時影響,使龍頭調溫好的出水溫度又會改變,最終影響到使用的舒適性。在淋浴時,由于水溫的忽冷忽熱,特別是萬一調整不當,還會燙傷人體。
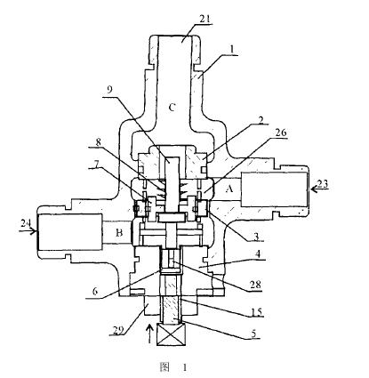
原有的一些水龍頭由于易受到管道內水壓變化而影響調整好的最終出水溫度,且其內腔機械結構件易損壞,所以現流體恒溫裝置在設計時考慮到要有靈敏的感溫元件、可靠的機械調控裝置及提供一種合理的流體管道。該自動恒溫控制裝置的元件及工作過程參見圖1。閥套2基本上為一圓柱型殼體,而閥套頂端21為開口端,其內腔26容納閥片7,閥片制成截面為工字形,用其側壁寬度對冷熱媒體的進口部分的掩蓋流量調節。

閥套側壁及設有外部熱流體進入口23,外部冷流體進入口24,開口端為混合流體出口21,上述流體進入口或出口通過閥片上的孔17互相連通,且為避免當流體溫度控制裝置在與其它裝置結合時(如水龍頭)流體外漏的問題,可在閥套2的適當部位設若干環槽,再將O型環3套在環槽上。溫度設定機構為一旋轉鈕5,在閥套接合部分為螺紋15,使旋轉鈕可以以旋轉方式與外殼頂端29結合,旋轉鈕5連接閥套內的調節桿28。
此閥套6為限定裝置,限定了感溫管上的活塞膨脹棒。限位彈簧8設置在閥片7的另一側,且彈簧被閥套的內臺階限位,彈簧亦套在感溫管上。圖1所示,閥片7的位置由感溫管9及溫度設定機構5所確定,溫度設定機構5通過彈簧8在感溫管9上有反方向的作用力,當上述作用力平衡時,閥片7的位置即被確定。為方便說明功能,假設圖1為起始時的平衡狀態,此時只有熱水可以從外部流入,由于感溫管接觸到熱水,因此受熱后,內部發生膨脹,此時,由于彈簧8受壓縮,直彈簧8及溫度設定機構的作用力達到平衡為止。

若使用者欲設定更低的排出水溫,比如攝氏三十度,則可以在使用前或在使用中將溫控旋轉鈕5向內旋(沿箭頭方向),則因閥片沿箭頭方向移動,使熱水進入的比例減少,反之若希望排出水溫較高,則需要將旋轉鈕向逆箭頭方向。在水龍頭實例中,如圖1,龍頭外殼1閥套2通過四個密封圈3內部分隔成三個獨立的內腔,即高溫流體腔A、低溫流體腔B,混合流體腔C。感溫管9的內部充滿醚類液體或固體,感溫劑的媒質熱脹冷縮,9的位移量與所感溫度有一一對應關系,詳見圖2。通過調節螺紋5,調節部件即調節杠28在閥體內的位置,從而自動平衡高溫水與低溫水混合比例,使混合后的水流穩定在設定的溫度上。http://www.cjzyw.com